产地类别 国产
皮带机专用FJ-PP-A-Ⅱ带地址编码跑偏开关是在普通跑偏开关的基础上了XLline现场总线技术,实现了地址编码功能。适用于较长带式输送机作为远程监测现场设备的运行情况,解决了工人寻找故障点所带来的不便。
【详细说明】
皮带机专用FJ-PP-A-Ⅱ带地址编码跑偏开关是在普通跑偏开关的基础上了XLline现场总线技术,实现了地址编码功能。适用于较长带式输送机作为远程监测现场设备的运行情况,解决了工人寻找故障点所带来的不便。
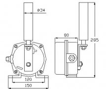
地址编码型两级跑偏开关与综合保护仪通过XLline现场总线方式连接, 两级跑偏开关工作原理 两级跑偏开关安装在皮带输送机两侧、距离皮带机首尾端部1~3m的地方。当皮带跑偏时,皮带边缘压向档轮,迫使档轮偏转,使限位开关动作。为减少档轮与皮带的摩擦,档轮的本体是由轴承制作的。 当发生轻微跑偏事故时(15°),两级跑偏开关的第一组触点动作,发出事故预告信号。 当发生严重跑偏事故时(30°),两级跑偏开关的第二组触点动作,可使输送机自动停车。,安装说明 1、两级跑偏开关底座两边各有Ф12mm孔,在皮带机旁角铁架钻Ф12mm孔,用M10×30mm螺丝紧固跑偏开关。 2、安装跑偏开关应选择输送装置易出现跑偏的位置处安装,参考应用单位工艺要求,同时要考虑皮带与挡轮的有效间距和推力,建议皮带与档轮间的安装距离为120-160mm。 3、安装距离:建议每50米安装一对跑偏开关。 4、跑偏开关出厂时配有长度0.5米四芯橡套电缆,芯线上配有1、2、3、4线号,其中1、2为常开接点是一级报警信号,3、4为常闭接点是二级停机信号。,支持128个地址,且同一地址可多个开关同时使用,其特点是只需一条两芯电缆即可同时完成数据传输且无需电源供电。
皮带机专用FJ-PP-A-Ⅱ带地址编码跑偏开关主要技术参数:
触点式及数量
两组常开、常闭接点
AC380V
跑偏 30度
二级跑偏 60度
工作电压 0V-450VAC/C
复位方式 手动
防护等级 IP67
动作力 10KG
可靠性 >10万次
环境温度 -40~50度
相对湿度 0-95
大气压力 80~110KPa

是用于检测皮带输送机运行过程中输送带跑偏程度并进行的一种保护装置,也用于在皮带严重跑偏时自动触发紧急停机。跑偏开关按照一定间隔(约50m)固定安装于皮带输送机两侧支架上,使用与安装:防偏开关可固定在输送机纵梁顶部或底部,动作杆距皮带边缘约25mm。通常安装在皮带两侧距头部或尾部0.3-2米的地方。当皮带跑偏时,迫使动作杆偏离,触动报警开关。两级跑偏开关如果继续偏离,触动别一组开关,输送机就会保护性停机。,跑偏开关的滚轮部分在受到偏离运转的输送带的边沿挤压后产生偏转,当滚轮偏转到一定角度时触发开关接点动作。
用户须知
用户若订购我厂提供的安装支架,请提供胶带的槽角。

E68-M5B4S、E68-M5B34S、E68-M1S、E68-M2S、E69-50B1S、E69-50B2S、E69-50B12S、E69-50B3S、E69-50B4S、E69-50B34S、E69-R2B1S、E69-R2B2S、E69-R2B12S、E69-R2B3S、E69-R2B4S、E69-R2B34S、E69-M5B1S、E69-M5B2S、E69-M5B12S、E69-M5B3S、E69-M5B4S、E69-M5B34S、E51-10B1S、E51-10B2S、E51-10B3S、E51-10B4S、E51-R2B1S、E51-R2B2S
LR30XBN 15NO-E2 P728 10 UB:10-30VC Le:200mA NPN
水泥厂专用速度开关XSA-V
声光器GST-H
速度开关WEM-FSU
BIM-G18-Y1/S926 9m速度检测传感器
速度开关WP2035
速度开关_X-TC-A2/10mm/埋入式/二线
速度开关JXO-60
料位开关SBNZX-160H/K220VAC
拉线开关BG-L11-JH
速度开关LY1Z1G-B/2.7+3+
位置控制开关THP-12-30220V 10A
位置控制开关T.441-11Y-ue-966
位置控制开关T.064-21Y-R 1
位置控制开关Ni8-m18-az3x
位置控制开关Ni8-M18-A4X
位置控制开关IIM211
速度开关60-23p
拉线开关YHL-II220VAC
风力机备件变桨接近开关IFL 10-30L-10TPB28.1
Copyright © 山东卓信机械有限公司 版权所有 鲁ICP备12019670号
全国服务电话:0537-2839666 传真:0537-2228358 百度地图 打滑开关
公司地址:山东省济宁高新经济技术开发区 音叉开关